0275是什么地方的区号?
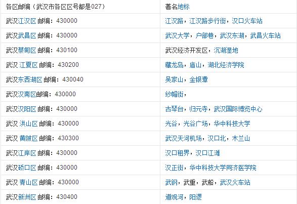
的有关信息介绍如下:没有0275这个区号,027是湖北省武汉市的区号。

武汉,简称“汉”,别名“江城”,现为湖北省省会,是中部唯一的副省级城市,华中地区最大都市及中心城市,中国长江中下游特大城市。世界第三大河长江及其最长支流汉江横贯市区,将武汉一分为三,形成了武昌、汉口、汉阳,武汉三镇隔江鼎立的格局,唐朝诗人李白在此写下“黄鹤楼中吹玉笛,江城五月落梅花”,因此武汉自古又称“江城”。武汉是长江中下游地区重要的产业城市和经济中心,中国重要的文化教育中心之一,也是中国重要的交通枢纽。




